⚲
项目
一般
简介
登录
注册
主页
项目
帮助
搜索
:
人力资源系统
所有的项目
人力资源系统
概述
活动
路线图
问题
甘特图
日历
文档
Wiki
文件
自定义查询
关注的问题
已报告的问题
指派给我的问题
更新的问题
行为
Copy link
测试 #1068
已关闭
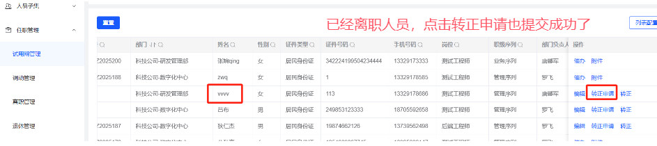
人事管理-试用期管理:已经离职的人员仍然可以发起转正申请
由
张婉清
在
4 个月
之前添加. 更新于
4 个月
之前.
状态:
已关闭
优先级:
普通
指派给:
李旭
目标版本:
v1.0
开始日期:
2025-11-21
计划完成日期:
% 完成:
0%
预期时间:
所属模块
:
严重程度
:
描述
文件
下载所有附件
clipboard-202511211556-n5pdf.png
(88.6 KB)
clipboard-202511211556-n5pdf.png
张婉清, 2025-11-21 07:48
clipboard-202511211557-8r4kw.png
(52.2 KB)
clipboard-202511211557-8r4kw.png
张婉清, 2025-11-21 07:48
历史记录
更改属性
行为
Copy link
#1
由
李旭
更新于
4 个月
之前
状态
从
新建
变更为
已解决
行为
Copy link
#2
由
张婉清
更新于
4 个月
之前
状态
从
已解决
变更为
已关闭
行为
Copy link
导出
Atom
PDF
载入中...