⚲
项目
一般
简介
登录
注册
主页
项目
帮助
搜索
:
人力资源系统
所有的项目
人力资源系统
概述
活动
路线图
问题
甘特图
日历
文档
Wiki
文件
自定义查询
关注的问题
已报告的问题
指派给我的问题
更新的问题
行为
Copy link
测试 #1301
已关闭
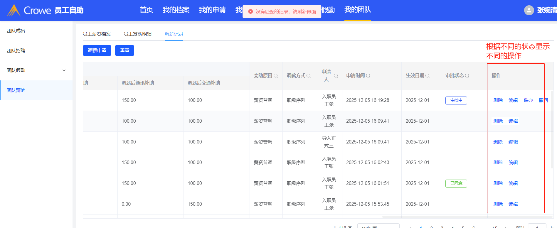
员工自助-我的团队-团队调薪-调薪记录:根据不同的状态显示不同的操作
由
张婉清
在
4 个月
之前添加. 更新于
4 个月
之前.
状态:
已关闭
优先级:
普通
指派给:
张婉清
目标版本:
v1.0
开始日期:
2025-12-05
计划完成日期:
% 完成:
0%
预期时间:
所属模块
:
严重程度
:
描述
审批中-催办、撤回
已同意-无操作
已撤回-编辑
已拒绝-删除、编辑
文件
clipboard-202512051623-m3nsk.png
(114 KB)
clipboard-202512051623-m3nsk.png
张婉清, 2025-12-05 08:14
历史记录
说明
更改属性
行为
Copy link
#1
由
张婉清
更新于
4 个月
之前
同调薪管理-单人调薪界面
行为
Copy link
#2
由
杨如意
更新于
4 个月
之前
状态
从
新建
变更为
已解决
指派给
从
杨如意
变更为
张婉清
行为
Copy link
#3
由
张婉清
更新于
4 个月
之前
状态
从
已解决
变更为
已关闭
行为
Copy link
导出
Atom
PDF
载入中...