项目

一般

简介

行为

测试 #2228

已关闭

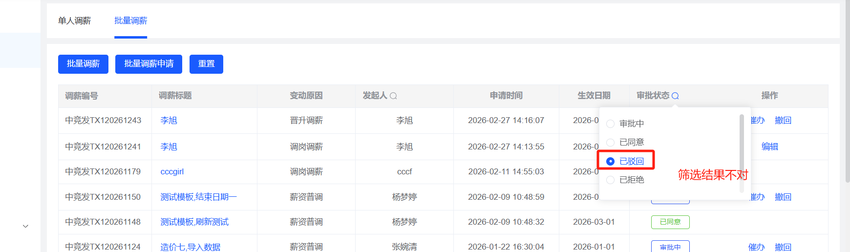
薪酬福利管理-薪资档案:批量调薪中,已驳回筛选的数据不对;缺少已撤回

张婉清大约一个月 之前添加. 更新于 大约一个月 之前.

状态:
已关闭
优先级:
普通
指派给:
目标版本:
开始日期:
2026-03-02
计划完成日期:
% 完成:

0%

预期时间:
所属模块:
薪酬福利管理
严重程度:
一般

描述



文件

行为 #1

郑宇洋 更新于 大约一个月 之前

  • 指派给郑宇洋 变更为 唐郦军

已撤回已添加,已驳回筛选不对

行为 #2

唐郦军 更新于 大约一个月 之前

  • 指派给唐郦军 变更为 李旭
行为 #3

李旭 更新于 大约一个月 之前


已驳回时没有数据返回,

行为 #4

郑宇洋 更新于 大约一个月 之前

  • 状态新建 变更为 已解决
行为 #5

张婉清 更新于 大约一个月 之前

  • 状态已解决 变更为 已关闭
行为

导出 Atom PDF