⚲
项目
一般
简介
登录
注册
主页
项目
帮助
搜索
:
人力资源系统
所有的项目
人力资源系统
概述
活动
路线图
问题
甘特图
日历
文档
Wiki
文件
自定义查询
关注的问题
已报告的问题
指派给我的问题
更新的问题
行为
Copy link
测试 #2318
已关闭
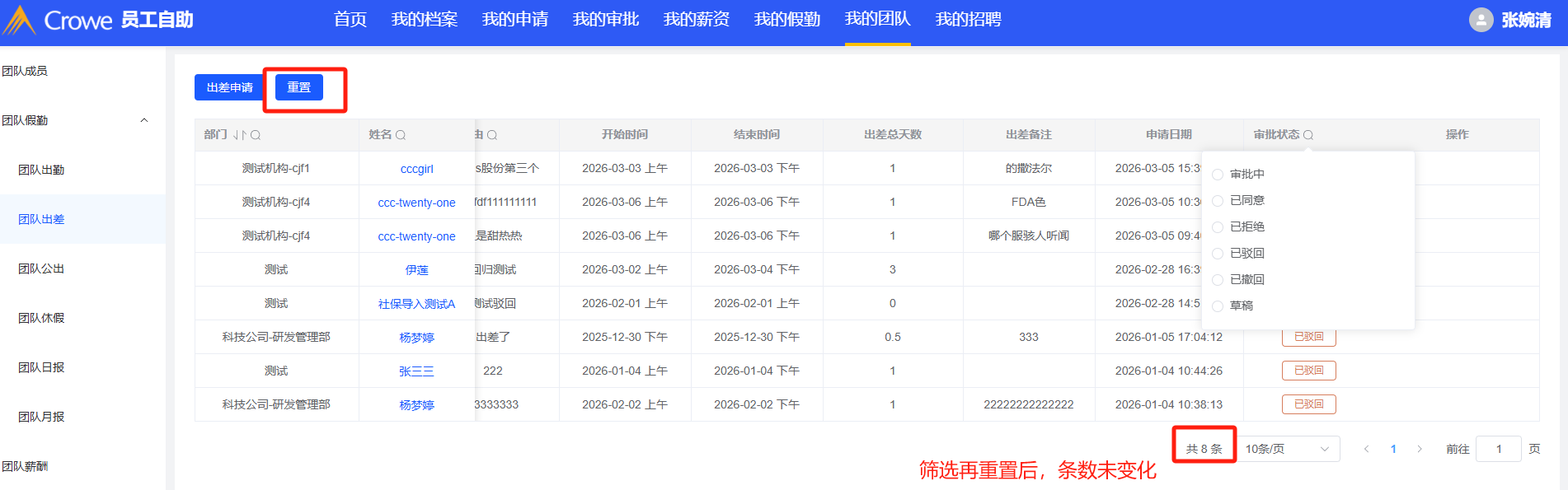
员工自助-我的团队-团队出差:筛选后点击重置,列表条数未变化
由
张婉清
在
25 天
之前添加. 更新于
24 天
之前.
状态:
已关闭
优先级:
普通
指派给:
郑宇洋
目标版本:
V1.2.2
开始日期:
2026-03-11
计划完成日期:
% 完成:
0%
预期时间:
所属模块
:
员工自助
严重程度
:
一般
描述
文件
clipboard-202603111314-r8pgr.png
(99.5 KB)
clipboard-202603111314-r8pgr.png
张婉清, 2026-03-11 05:04
历史记录
更改属性
行为
Copy link
#1
由
郑宇洋
更新于
24 天
之前
状态
从
新建
变更为
已解决
行为
Copy link
#2
由
张婉清
更新于
24 天
之前
状态
从
已解决
变更为
已关闭
行为
Copy link
导出
Atom
PDF
载入中...