行为
测试 #2326
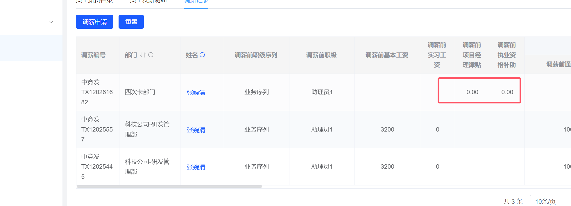
已关闭我的团队-团队调薪-调薪:调薪后列表中显示1、缺少单位 2、有些未保留两位小数
描述


文件
由 李旭 更新于 23 天 之前
- 文件 clipboard-202603121427-fwnzh.png clipboard-202603121427-fwnzh.png 已添加
- 状态 从 新建 变更为 已解决
使用新数据查看
由 张婉清 更新于 13 天 之前
- 文件 clipboard-202603231136-hdouj.png clipboard-202603231136-hdouj.png 已添加
- 状态 从 已解决 变更为 新建
单位没有带
由 高巧英 更新于 12 天 之前
- 文件 clipboard-202603231729-vfxbq.png clipboard-202603231729-vfxbq.png 已添加
- 状态 从 新建 变更为 已解决

行为