项目

一般

简介

行为

测试 #496

打开

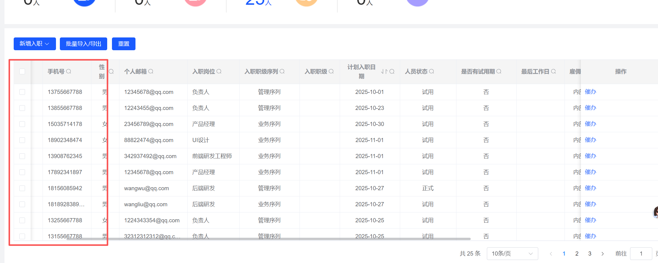
所有列表都以“部门+姓名””为固定列

张峥税5 个月 之前添加. 更新于 5 个月 之前.

状态:
反馈
优先级:
普通
指派给:
目标版本:
开始日期:
2025-10-30
计划完成日期:
% 完成:

0%

预期时间:
所属模块:
严重程度:

描述


文件

行为 #1

唐郦军 更新于 5 个月 之前

  • 指派给 被设置为 高巧英
行为 #2

高巧英 更新于 5 个月 之前

  • 指派给高巧英 变更为 李冉

人事档案管理,人员子集已调整
负责模块对应调整下

行为 #3

李冉 更新于 5 个月 之前

  • 指派给李冉 变更为 杨如意
行为 #4

杨如意 更新于 5 个月 之前

  • 状态新建 变更为 2
  • 指派给杨如意 变更为 杨梦婷
行为 #5

杨梦婷 更新于 5 个月 之前

  • 状态2 变更为 反馈

具体修改样式以需求管控表为准,目前只修改完成部分列表

行为

导出 Atom PDF